前言
本標準按照GB/T 1.1 — 2009給出的規則起草。
本標準是對QB/T 1199 —1991《
浮球閥》的修訂。本標準與QB/T 1199 —1991相比,主要變化如下:
——范圍作了修改,擴大了產品公稱尺寸范圍;
——增加了典型結構示意圖;
——對產品的主要零件材料作了規定;
——增加了產品低壓密封性能要求;
——增加了產品最小開啟壓力和關閉壓力。
本標準由中國輕工業聯合會提出。
本標準由全國五金制品標準化技術委員會建筑五金分技術委員會(SAC/TC174/SC3)歸口。
本標準起草人:鄭雪珍、金宗民、林岳華、林補生、蘇宗堯、陳曉丹、曾天生、王朝陽、何烙輝、 方亞平、楊志雄、顏偉國、嚴榮杰、忻成梁、周禮、俞偉、全紅、嚴德勇。
本標準所替代標準的歷次版本發布情況為:——QB/T 1199—1991。 浮球閥 1、范圍
本標準規定了浮球閥的結構型式、要求、試驗方法、檢驗規則、標志、包裝、運輸和貯存。
本標準適用于工作溫度小于80℃、工作介質為水的公稱壓力不大于的內、外螺紋連接浮球閥
(公稱尺寸不大于100 mm)和法蘭連接浮球閥(公稱尺寸ZW: >100mm?300mm)。
注:該閥可用于工業及民用管路上,作為自動開啟和關閉管路,控制水箱、水池、水塔的液位。
2、規范性引用文件
下列文件對于本文件的應用是必不可少的。凡是注日期的引用文件,僅注日期的版本適用于本文件。
凡是不注日期的引用文件,其最新版本(包括所有的修改單)適用于本文件。
GB/T1176鑄造銅及銅合金
GB/T 2828.1 —2012計數抽樣檢驗程序第1部分:按接收質量限(AQL)檢索的逐批檢驗抽樣計劃
GB/T 3280不銹鋼冷乳鋼板和鋼帶
GB/T4240不銹鋼絲
GB/T 5231加工銅及銅合金牌號和化學成分
GB/T 7306.2 55°密封管螺紋第2部分:圓錐內螺紋與圓錐外螺紋
GB/T 7307 55°非密封管螺紋
GB/T 12225通用閥門銅合金鑄件技術條件
GB/T 15530.1銅合金整體鑄造法蘭
GB/T 20078銅和銅合金鍛件
HG/T 2810往復運動橡膠密封圈材料
3、結構型式
浮球閥的典型結構型式如圖1、圖2、圖3所示。
圖1內螺紋連接浮球閥

1、閥體;
2、導向爪;
3、密封墊;
4、柱塞;
5、彈簧;
6、連接螺母;
7、密封圈;
8、后蓋;
9、小閥體;
10、密封片;
11、小柱塞;
12、杠桿;
13、浮球。
圖2外螺紋連接浮球閥

1、接頭;
2、壓緊螺母;
3、密封墊;
4、閥體;
5、陶瓷閥芯組件;
6、杠桿;
7、浮球。
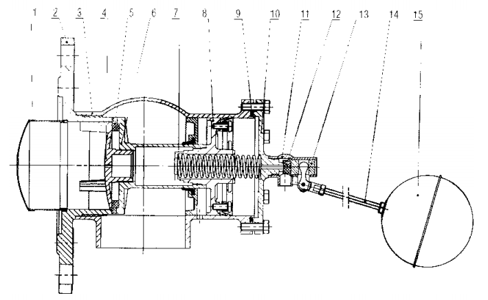
圖3法蘭連接浮球閥

1、過濾網組件;
2、法蘭;
3、閥體;
4、導向爪;
5、密封墊;
6、柱塞;
7、彈簧;
8、活塞片;
9、密封圈;
10、閥蓋;
11、小閥體;
12、密封片;
13、小柱塞;
14、杠桿;
15、浮球。
4、要求
4. 1材料
浮球閥主要零件材料應符合表1規定,在保證產品性能的條件下,可用其他材料代替。
表1零件材料
|
零 件 |
材 料 |
牌 號 |
執行標準編號 |
閥體、閥蓋、活塞片、柱塞、
小柱塞、杠桿、小閥體、法蘭導向爪 |
鉛黃銅 |
ZCuZn40Pb2或HPb59-l |
GB/T 1176
GB/T 5231 |
|
彈簧 |
不銹鋼 |
12Crl8Ni9 |
GB/T 4240 |
|
密封件 |
丁腈橡膠 |
NBR |
HG/T2810 |
|
浮球、杠桿 |
不銹鋼 |
06Crl9Nil0 |
GB/T 3280 |
4.2性能
4.2.1殼體強度
將浮球閥密封面封閉,從浮球閥進水端通入規定壓力的水,達到規定的持續時間后,受水壓部分的閥體和缸體工作部位應無滲漏 、變形。詳見表2。
4.2.2密封性能、低壓密封性能
將浮球閥置于開啟狀態,從進水端通入規定壓力的水,使浮球在水的浮力作用下將閥門關閉,達到 規定的持續時間后,從出水口(包括小孔出水口)處目測密封面應無滲漏。詳見表2。
表2閥門的殼體和密封。
|
公稱尺寸£W/mm |
試驗類型 |
試驗水壓/MPa |
最短試驗持續時間/S
|
|
^50 |
殼體強度試驗 |
0.9 土 0.1 |
15 |
|
65?200 |
60 |
|
>200?300 |
180 |
|
^200 |
密封性能試驗 |
0.6 土 0.1 |
15 |
|
>200?300 |
30 |
|
^200 |
低壓密封性能試驗 |
0.04 |
15 |
|
>200?300 |
30 |
4.2.3浮球密封性能
將浮球閥所配浮球浸入60 °C?70 °C的水中15 s,浮球外表應無滲漏。
4.2.4最小開啟壓力
浮球閥處于全關閉工作狀態下,開啟小孔密封面,逐漸升高進水口壓力,在柱塞剛剛打開的瞬間, 測得的進水口壓力(即最小開啟壓力)不應超過0.04 MPa。
4.2.5關閉壓力
浮球閥處于全開工作狀態下,關閉小孔密封面,在柱塞剛剛關閉的瞬間,測得的進水口壓力(即關 閉壓力)應為0.01MPa?0.6 MPa。
4.2.6浮球浸入水中的體積
在公稱壓力下,浮球閥關閉時,浮球浸入水中的體積不應大于浮球總體積的1/2。
4.3管螺紋
4.3.1 管螺紋尺寸應符合GB/T 7306.2或GB/T 7307中的規定。
4.3.2管螺紋表面粗糙度不應大于6.3 pm。
4.3.3管螺紋表面不應有凹痕、斷牙等明顯缺陷。
4.4法蘭
4.4.1法蘭表面粗糖度及a不應大于3.2 pm。
4.4.2法蘭密封表面不應有氣孔、縮孔等缺陷。
4.4. 3法蘭連接尺寸應符合GB/T 15530.1的規定。
4.5鑄件
銅合金鑄件應符合GB/T 12225的規定。
4.6鍛件
銅合金鍛件應符合GB/T 20078的規定。
4.7零件
4.7.1密封面表面不應有裂痕、氣孔等缺陷,密封面表面粗糙度不應大于3.2 pm。
4.7.2浮球表面不應有明顯的影響使用性能的凹坑。
4.8開啟高度
浮球閥開啟高度不應小于閥門實際通徑的1/4。
4.9裝配
產品裝配應牢固,活動部位應靈活、無卡阻。
5、試驗方法
5.1殼體強度、密封性能、低壓密封性能、浮球密封性能、最小開啟壓力、關閉壓力、浮球浸入水中體積應在相應的壓力試驗臺上,用目測法檢查。
5.2管螺紋尺寸用相應精度的管螺紋量規檢查。
5.3管螺紋表面粗糙度、法蘭表面粗糙度、密封面表面粗糙度用粗糙度標準塊對比檢查,有爭議時用輪廓儀進行評定。
5.4管螺紋表面質量、法蘭表面質量、零件密封面表面質量、浮球表面質量用目測法檢查。
5.5法蘭連接尺寸用相應精度的量具檢查。
5.6銅合金鑄件按 GB/T 12225規定的方法檢測。
5.7銅合金鍛件按 GB/T 20078規定的方法檢測。
5.8浮球閥開啟高度用游標卡尺檢測。
5.9裝配采用手感與目測相結合的方法檢測。
6、檢驗規則
6.1檢驗分類
產品檢驗分出廠檢驗和型式檢驗。
6.2組批
由相同的材料、工藝、設備連續制造的同一規格的產品組成一批。
6.3出廠檢驗
6.3.1每批產品經制造廠檢驗合格后方可出廠。
6.3.2出廠檢驗的抽樣按 GB/T 2828.1 — 2012規定的方法進行,采用一般檢查水平I,正常檢驗一次抽
樣方案。
6.3.3出廠檢驗項目、要求、試驗方法、不合格分類及接收質量限AQL見表3。
6.3.4經檢驗所有檢驗項目均合格,則判定該批產品為合格;凡有1項以上(含1項)不合格,則判定該批產品不合格。
表3出廠檢驗
|
檢驗項目 |
要求 |
試驗方法 |
不合格分類 |
AQL |
|
殼體強度 |
4.2.1 |
5.1 |
A |
1 |
|
密封性能 |
4.2.2 |
5.1 |
|
|
|
低壓密封性能 |
4.2.2 |
5.1 |
|
|
|
浮球密封性能 |
4.2.3 |
5.1 |
|
|
|
管螺紋尺寸 |
4.3.1 |
5.2 |
B |
4 |
|
螺紋表面質量 |
4.3.3 |
5.4 |
C |
6.5 |
|
法蘭表面質量 |
4.4.2 |
5.4 |
|
|
|
法蘭連接尺寸 |
4.4.3 |
5.5 |
|
|
|
浮球表面質量 |
4.7.2 |
5.4 |
|
|
|
裝配 |
4.9 |
5.6 |
B |
4 |
|
標志、包裝 |
7.1、7.2 |
- |
C |
6.5 |
6. 4型式檢驗
6.4.1 有下列情況之一時,應進行型式檢驗:
a) 新產品或老產品轉廠生產的試制定型鑒定;
b) 正式生產后,如結構、材料、工藝有較大改變,可能影響產品性能時;
c) 產品停產6個月后,恢復生產時;
d) 正常生產每12個月至少進行1次;
e) 出廠檢驗結果與上次型式檢驗有較大差異時;
f) 國家質量監督機構提出型式檢驗的要求時。
6.4.2型式檢驗采取從生產廠質量檢驗部門檢查合格的庫存浮球閥中隨機抽取的方法或從己供給用戶 但未使用過的產品中隨機抽取的方法。每一規格浮球閥供抽樣的最少臺數和抽樣臺數按表4的規定。到用戶抽樣時,供抽樣的臺數不受表4的限制,抽樣臺數仍按表4的規定。對整個系列進行質量考核時,抽檢部門根據情況可從該系列中抽取2臺?3臺典型規格進行測試,每個規格供抽樣的臺數和抽樣臺數仍按表4的規定。
表4抽樣臺數
|
公稱尺寸 |
供抽樣最少數量/臺 |
抽樣數/臺 |
|
50 |
30 |
3 |
|
65 ?300 |
20 |
6 .4.3型式檢驗項目為第4章的所有要求。
6.4.4 每臺浮球閥的殼體強度和低壓密封性能應達到4.2.1、4.2.2的規定,如果有一臺、項不合格,則判定為不合格。其他檢驗項目,若被檢產品中有一臺、項不合格,可從供抽樣的產品中再抽取3臺,若再次檢驗仍不符合,則判定為不合格。
7、標志、包裝、運輸、貯存
7.1標志
7.1.1產品上應標有如下標志:
a)商標;
b) 公稱尺寸;
c) 公稱壓力。
7. 1.2包裝盒或包裝箱上應標有下列標志:
a) 產品名稱、規格、代號;
b) 產品數量、質量;
c) 產品商標或公司名稱、地址。
d) 產品執行標準編號。
7. 1.3產品合格證上應標有檢驗員印記和出廠日期。
7.2包裝
7.2.1浮球閥在試驗后,包裝前應清除內外油污、殘水、雜物等。
7.2.2包裝應保證產品在正常運輸和保管中不受損傷。
7.3運輸
產品在運輸過程中應輕搬、輕放,不應雨淋、受潮。
7.4貯存
產品應貯存在干燥的室內,堆放整齊;不應露天存放,以防止損壞和腐蝕。